Поступающая в дома и квартиры питьевая вода содержит множество примесей, растворенных химических веществ и бактерий. Большинство элементов оказывает негативное воздействие на здоровье человека, особенно маленьких детей. Постоянное употребление воды ненадлежащего качества приводит к развитию опасных хронических заболеваний. Оптимальное решение проблемы – установить мембранный фильтр, способный максимально очистить воду, повысить ее питьевые качества.
Что такое мембрана и как это работает
Основным элементом мембранных фильтров для квартиры, загородного дома либо промышленного предприятия является мембрана – ультрапористая тончайшая пленка, пропускающая кислород и воду. Все органические и неорганические вещества, размер частиц которых больше диметра пор, остаются на поверхности этого элемента. Движение жидкости реализовано по тангенциальной схеме – вода собирается с обеих сторон мембраны. Больший объем подается на очистку через фильтр и попадает в накопительный бачок, а оставшаяся часть жидкости используется для очищения пленки от скопившейся грязи направленным потоком и отведения ее в канализационную систему.
Фильтрационные системы мембранной очистки предназначены не только для бытовых нужд, но и для получения сверхчистой воды технического и медицинского назначения, опреснения морской воды, нейтрализации стоков. Трековая мембрана в особой комплектации также применяется для очистки воды в чрезвычайных ситуациях, ресурс работы допускает ее многоразовое использование.
Мембрана для очистки воды изготавливается преимущественно из лавсана, полисульфона, полипропилена, ацетата, керамики, но также используются и другие материалы, обладающие схожими свойствами.

Прибор с мембраной для очистки воды бытового назначения монтируется под мойкой и подключается к трубе, подающей холодную воду в квартиру или дом. Процесс очистки включает в себя несколько этапов:
- Грубая очистка – задержание твердых веществ, частичное удаление хлора, применяющегося для дезинфекции водопроводной воды;
- Фильтрация сквозь мембрану – очистка от большинства микробиологических и химических загрязнителей;
- Накопление очищенной воды в баке;
- Дополнительная минерализация жидкости (при установке специального картриджа);
- Улучшение органолептических качеств воды – фильтрование через так называемый постфильтр из прессованного активированного угля;
- Подача очищенной воды через отдельный кран, дополнительно устанавливающийся рядом с мойкой.
Производятся также мембранные фильтрационные приборы, действие которых основано на совершенно другом принципе. В емкость с водой помещается рабочий элемент, в который поступает подлежащая очистке вода, загрязнители при этом остаются в корпусе устройства. Отфильтрованная жидкость через специальный шланг выводится в другую емкость. Такие мембранные фильтры незаменимы на даче или в походе, когда нет возможности подключиться к централизованному водоснабжению.

Недостатками водоочистных приборов такого типа являются потребность в регулярной очистке мембран с помощью специальных средств, а также малый ресурс работы.
Производительность фильтров с мембраной зависит от нескольких факторов:
- качества исходной воды;
- типа очищающей мембранной пленки;
- уровня давления, под которым поступает вода;
- толщины и площади мембраны;
- температуры воды.
Большая часть установок для водоочистки, например, марки «Гейзер», поставляются со всеми необходимыми для подключения деталями – шлангами, фитингами, краном. В Тюмени приобрести любые фильтры, в которых реализована мембранная технология очистки воды, можно в компании «КВАНТА+» по лучшим в городе ценам.

Виды мембранных фильтров
По типу мембран
- «микро»
Размеры пор в мембранах такого типа варьируются в пределах от 0,1 до 1,0 мкм. Пленка способна задерживать тонкодисперсные примеси и коллоидные частицы, ухудшающие прозрачность воды.
Микрофильтрационные мембраны используются для грубой очистки: подготовки к следующему этапу фильтрации либо для обработки сточных вод.
- «ультра»
Ультрафильтрационные мембраны с порами диаметром 0,02-0,1 мкм задерживают высокомолекулярные соединения и коллоидные примеси, водоросли, бактерии, макромолекулы, но бессильны против растворенных солей.
Устанавливаются такие мембраны в бытовых и промышленных фильтрах, предназначенных для очистки воды от механических примесей с сохранением солевого состава.
- «нано»
В нанофильтрационных мембранах размер пор составляет 0,001-0,02 мкм. Они применяются для очистки жесткой воды и ее умягчения, удаления порядка 90% хлорорганических веществ и ионов тяжелых металлов.
При использовании проточных фильтров с наномембраной солевой состав воды изменяется чуть меньше, чем при использовании обратнооосмотических мембран.

- обратноосмотические мембранные фильтры
Обратноосмотические мембраны, отличающиеся самыми мелкими порами (0,0001-0,001 мкм), способны фильтровать:
- все вирусы и бактерии;
- органические примеси, влияющие на цветность воды;
- значительную часть растворенных солей;
- тяжелые металлы и железо;
- пестициды, гербициды, инсектициды.
Мембранные элементы такого типа задерживают практически все имеющиеся в жидкости примеси, пропуская только молекулы чистой воды, растворенные в ней газы и небольшой процент минеральных солей.
Фильтры с мембраной обратного осмоса предназначены для получения высококачественной воды не только для бытовых целей, но и для производства напитков, в фармацевтической отрасли, в пищевой, медицинской и электронной промышленности.
Поры обратноосмотической мембраны по причине крайне малых размеров подвержены периодическому засорению крупными частицами. Для эффективной и продолжительной эксплуатации фильтра требуется предварительная подготовка очищаемой водопроводной воды, а именно:
- грубая фильтрация;
- тонкая очистка;
- умягчение жесткой воды.
При этом подача предварительно подготовленный жидкости на мембрану должна производиться под давлением не ниже 3 бар, в противном случае фильтрация будет осуществляться слишком медленно. Если давление в системе слишком низкое, для его повышения до требуемого уровня применяются специальные насосы.
По конструктивному типу
Фильтры оснащаются мембранными элементами, имеющими различную форму:
- плоскими (дисковыми);
- трубчатыми;
- рулонными;
- половолоконными.
Мембранные фильтры различных типов имеют разную площадь рабочей поверхности.
| Тип мембраны | Площадь рабочей поверхности
по отношению к 1 м3 объема фильтра |
| Трубчатые d=10 мм | 150 м2 |
| Рулонные | 500-1000 м2 |
| Половолоконные d=0,3 мм | 6600 м2 |
| Половолоконные d=0,1 мм | 20000 м2 |
Плоские
Плоские мембранные элементы изготавливаются в виде пленок следующих видов:
- мембраны с подложкой, состоящие из рабочего слоя и подложки из крупнопористого материала;
- мембраны без подложки, выполненные из однородного вещества;
- армированные, в которых пористый материал нанесен на тканевую основу.
Плоские обратноосмотические мембраны чаще всего бывают тонкопленочными композитными и состоят из трех слоев

В качестве основы (1-й слой) используется полимерный материал (полистирол), на который наносится полисульфон с микропорами (2). Второй слой хорошо пропускает воду, но под давлением не сжимается и не деформируется. Третий слой, выполняющий функцию барьера, изготавливается из ароматического полиамида.
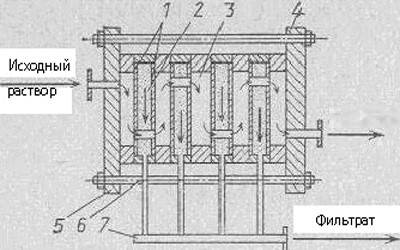
Дисковые мембраны используются для производства аппаратов типа «фильтр-пресс».

Фильтр состоит из мембранных элементов (1), пористых пластинок (2), двух крышек (4, 5), шпилек (6), коллектора (7).
Трубчатые
Мембрана такого типа представляет собой трубку, изготовленную из пористого материала (металлоткани, металлокерамики, керамики, пластика).
Мембранные трубчатые фильтры могут быть симметричными, у которых пористость одинакова по всему объему, и асимметричными – одну из поверхностей покрывает слой более плотного материала. Именно плотный слой является рабочим и задерживает загрязнители, материал с более крупными порами является подложкой и выполняет функции дренажа.

Очистка жидкости выполняется следующим образом. Вода, проходя через трубку (1) с полупроницаемым мембранным элементом, фильтруется и собирается в емкость (2), концентрированный загрязнитель при этом выходит из отдельной трубки. Насос (3) повышает давление на поступающий раствор, после чего дроссель (4) сбрасывает загрязнитель на выходе.
Рулонные
Мембранный фильтрующий прибор состоит из дренажной трубки с накрученными вокруг нее тремя слоями материала: основного мембранного, и дренажных прокладок, в которые завернут с обеих сторон мембранный материал.
Вода подается с торца фильтра, проходит по спирали через мембрану и прокладки, а затем попадает в дренажную трубу. Растворенные в воде загрязнители отводятся из рулонного фильтра с другого торца.
Мембранные рулонные фильтры отличаются удобной конструкцией. Тонкий рабочий слой позволяет отнести данный тип фильтров к одним из наиболее производительных, к тому же поры его засоряются редко.

Половолоконные
Половолоконные мембраны представляют собой трубки диаметром порядка 1 мм с пористыми стенками. Размер микроотверстий, через которые выполняется фильтрация воды, не позволяет проникнуть сквозь них даже мельчайшим загрязнителям.
Фильтры с половолоконной мембраной способны:
- Удалять взвешенные в воде частицы размером до 0,1 мкм. Удаление мельчайших частиц, особенно коллоидного железа, позволяет добиться максимальной прозрачности воды и ее безопасности.
- Задерживать бактерии и микроорганизмы. Размер пор фильтров других конструкций делает невозможным отсечение бактерий – кишечной палочки или золотистого стафилококка, половолоконным же мембранам такое под силу.
- Удалять цисты лямблий.
Большинство водоочистных приборов не рассчитано на борьбу с этим паразитом, чрезвычайно устойчивым к воздействию бактерицидов и иных внешних факторов. Самым эффективным методом является механическая фильтрация через половолоконную мембрану.
Единственной маркой фильтров для воды в России, использующей мембраны данного типа, является «Аквафор». Технология применяется для финишной водоочистки в фильтрах серии «Кристалл», в которых половолоконный мембранный элемент совмещается с карбонблоком в одном модуле. Приобрести мембранные фильтры «Аквафор» и системы других популярных марок по лучшим в Тюмени ценам можно в компании «Кванта+».
Бытовые или керамические
Керамические фильтры предназначены для доочистки воды, подающейся из централизованной системы водоснабжения.
Популярность мембранный водоочистных устройств такого типа обусловлена несколькими причинами:
- выполнение очистки воды с помощью керамических мембранных элементов без использования реагентов;
- качественной нейтрализацией посторонних привкусов и запахов, примесей, бактериальной микрофлоры;
- наличием защиты от пересыхания;
- устойчивостью наружной поверхности к воздействию абразивных чистящих средств;
- отсутствием необходимости в замене мембранных элементов.

Мембранный блок помещен в корпус диаметром до 10 см и длиной до 35 см, изготовленный из нержавеющей пищевой стали. Мембрана представляет собой пучок мелкопористых керамических трубок, через которые под давлением подается жидкость.
Преимуществами очистки в мембранных керамических фильтрах считается получение качественной питьевой воды без примесей железа и солей жесткости. Системы не требовательны к качеству поступающей из скважины или магистрального водопровода воды, отличаются продолжительным сроком службы.
Керамические мембраны изготовлены из прочного, но хрупкого материала, потому основными условиями долговечности и надежности очистки являются правильная транспортировка фильтров и установка и очистка. Для очистки прибор следует промыть чистой проточной водой, используя мягкую губку или щетку. Чистящие средства не следует применять во избежание попадания их в питьевую воду. Водоочистные мембранные установки повышенной производительности очищаются обратной промывкой обессоленной водой.
Плюсы и минусы
Мембранные фильтры отличаются от водоочистных систем других типов высокой эффективностью – благодаря малым размерам пор прошедшая через установку вода становится абсолютно чистой и пригодной для любых нужд.
Существенным минусом мембранных приборов можно назвать относительно высокую стоимость, которая компенсируется массой плюсов:
- высокое качество воды, очищенной с помощью мембранной технологии;
- удобство эксплуатации и обслуживания;
- частичное сохранение после очистки солевого состава жидкости;
- удаление самых мелких взвешенных в воде частиц;
- компактность размеров;
К недостаткам относятся:
- относительно низкая скорость фильтрации воды, для ее корректировки требуется установка накопительных емкостей;
- необходимость в регулярной замене или чистке мембранных блоков.
Условия эксплуатации мембранного фильтра
Срок службы любого мембранного фильтра, периодичность чистки и замены рабочих элементов обуславливаются условиями его эксплуатации:
- качеством подлежащей очистке воды;
- объемом пропускаемой жидкости;
- давлением в водопроводной системе.
Точный срок очистки либо замены мембранного элемента заранее определить невозможно.
Если у владельца есть финансовая возможность, то менять мембранный блок в фильтрационных приборах рекомендуется каждый год либо при ухудшении вкусовых качеств воды, снижении ее напора. Если ежегодная замена обременительна, то мембрану следует хотя бы промывать. Конструкцией некоторых моделей предусмотрена возможность обратной промывки (включением обратного режима подачи воды) либо очистка путем изменения давления подающегося потока.
Мембранные элементы в домашних условиях промыть практически невозможно, но в случае временного отсутствия средств можно попытаться хотя бы немного улучшить качество фильтрованной воды.
Фильтрующая пленка тщательно прополаскивается под напором теплой проточной воды либо в мыльном растворе и ставится обратно. При сильном загрязнении мембранный блок погружается в теплую воду с добавлением лимонной кислоты, а после обратной установки в фильтр на протяжении получаса промывается для полного удаления «лимонки».
Промышленные мембраны, устанавливающиеся на производственных линиях, промываются специальным раствором кислоты и щелочи.

Как выбрать мембранный фильтр
Кроме мембранных существует множество других фильтров, работающих по иному принципу. Основным фактором для подбора мембранного фильтра является то, от каких именно примесей необходимо избавить воду, а также требуемая производительность фильтров. Перед выбором очистной системы необходимо определить, какие именно вещества представлены в воде в наибольшем количестве и сравнить показатель с максимально допустимым значением по СанПин 2.1.4.1074-01. Желательно так же выполнить и бактериологический анализ воды.
Например, если содержание солей тяжелых металлов в воде находится в пределах норм, установленных СанПин, в установке фильтрующего мембранного прибора нет необходимости. В таком случае можно обойтись обычным угольным сорбционным фильтром.
При покупке мембранного фильтра обратного осмоса следует учесть, что для его работы требуется выполнение предварительной очистки поступающей воды, что приводит к затратам на приобретение и установку дополнительных фильтров. Функционирование технологии обратного осмоса невозможно при давлении в системе ниже 3 бар, так как вода не сможет с требуемой скоростью проходить сквозь поры мембранного материала. Низкое давление приведет либо к полной остановке подачи воды, либо к замедлению процесса очистки.
Фильтры с обратноосмотической мембраной продаются единой системой, состоящей из нескольких очистных узлов. Каждый узел располагается в отдельном корпусе, имеющем свою маркировку. Чем более комплексная или технологичная подразумевается очистка воды, тем выше стоимость прибора, сложнее монтаж.
При подборе фильтрационного устройства с мембраной необходимо:
- определиться с его назначением – для очистки стоков, получения воды для хозяйственных нужд, питья и приготовления пищи, использования в лаборатории и т.д.;
- учесть, что цена фильтра прямо пропорциональна его возможностям;
- для снижения жесткости воды в фильтре достаточно нано- мембраны;
- для фильтрующего прибора, работающего по принципу обратного осмоса, желательно дооснащение минерализатором;
- при очистке сильно загрязненной воды требуется дополнительный ее пропуск через микрофильтрационные мембраны.
Мифы про мембранный фильтр
Мембранные фильтры делают воду «мёртвой»
Хорошо справляющаяся со своими функциями система фильтрации позволяет получить воду, которую можно использовать и в питьевых, и в технических целях. Для повышения качества уже очищенной воды применяются системы, работающие по принципу обратного осмоса. Вместе с очисткой от всех вредных примесей происходит полное или частичное обессоливание воды, удаление полезных веществ. Такая вода считается «мертвой», но не опасной.
На самом деле, вода после очистки вовсе не «мертвая», а обессоленная и все же содержит некоторое количество растворенных веществ. Такая вода сохраняет все вкусовые качества продуктов и отлично подойдет гурманам – для приготовления лучших сортов чая или кофе, других напитков, приготовления пищи. Так как человек получает основное количество микроэлементов и минералов из продуктов питания, на «мертвой» воде можно готовить пищу и напитки, а для питья ее желательно пропустить через минерализатор, добавляющий полезные вещества.
Очищенная фильтром вода как-то влияет на пищу
В процессе фильтрации из воды удаляются вещества, не лучшим образом влияющие на вкус приготовленных блюд. В полной мере изменение вкуса ощущается в приготовленном напитке, например, кофе. Пропущенная через мембранный фильтр вода считается оптимальной основой для приготовления соков и коктейлей.
Вода, очищенная по технологии обратного осмоса, не оставляет известковых отложений внутри чайников и другой посуды, в отличие от обыкновенной водопроводной.

