Объект: столовая для персонала, специализированное транспортное управление АО «Транснефть-Сибирь», г.Тюмень
Задача объекта: доочистка воды из централизованного водопровода
Требования к очищенной воде: соответствие требованиям СанПиН 2.1.4.1074-01
Характеристики установки:
- Производительность: 5,0 м3/сутки
- Пиковый расход: 2,0 м3/ч
- Тип исполнения станции: исполнение II, размещение оборудования в помещении заказчика
- Режим работы станции: автоматический, с периодическим обслуживанием.
- Электропитание: 220 В, 50 Гц, 0,08 кВт
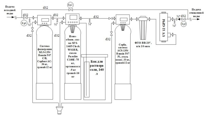
Принципиальная схема системы очистки воды:
Принципиальная технологическая схема очистки воды выглядит следующим образом. Исходная вода из муниципального водопровода подается на систему фильтрации. Данная ступень предназначена для осветления воды, удаления окислов железа, ржавчины, механических примесей.
Затем вода поступает на ионообменную систему для снижения концентрации марганца, иона аммония, а также общей жесткости.
Следующая ступень – система сорбционной очистки, предназначенная для улучшения органолептических качеств воды- удаления запаха хлора, улучшения вкуса.
Далее предусмотрен фильтр «тонкой» очистки картриджного типа для удаления угольной пыли.
Заключительной ступенью очистки является система ультрафиолетового обеззараживания.


