Обьект: Тазовское месторождение ЗАО «ПремьерСтройДизайн»
Задача объекта: очистка воды поверхностного водоисточника для хоз.-бытовых и питьевых целей
Требования к очищенной воде: обеззараживание воды, снижение содержания в очищенной воде соединений железа, марганца, аммония, солей жесткости, цветности, мутности до норм СанПин 2.1.4.1074- 01 – для питьевой воды
Качество исходной воды:
- железо общее до 30 мг/л
- марганец до 1,0 мг/л мутность до 50 мг/л
- цветность до 250 оЦ
- жесткость до 10 оЖ
- аммиак и аммоний-ион до 7,0 мг/л
- окисляемость перманганатная до 30,0 мг О/л
Характеристики установки:
- Производительность установки: 30,0 — 40,0 м3/сутки
- Пиковый расход: до 3,0 м3/ч
- Тип исполнения станции: блочно-комплектная установка
- Режим работы станции: автоматический, с периодическим обслуживанием.
- Электропитание: 220 В, 50 Гц
- Габаритные размеры: 6000 х 2440 х 2590 мм (20-футовый контейнер)
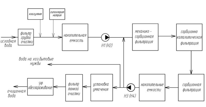
Принципиальная схема системы очистки воды:
Исходная вода из поверхностного водоема подается через фильтр грубой очистки, счетчик, узел ввода реагентов, электроклапан и регулировочный клапан в резервуары исходной воды. По сигналу от импульсного счетчика пропорционально расходу воды дозируются растворы коагулянта и щелочи NaOH.
В резервуарах исходной воды обеспечивается время контакта обрабатываемой воды с реагентами и образование хлопьев. Оттуда вода насосной станцией Н1(Н2) направляется на блок фильтрации. Данная ступень предназначена для осветления воды, удаления хлопьев образовавшихся загрязнений. Блок фильтрации состоит из 2-х ступеней. Каждая ступень состоит из 2-х параллельно работающих фильтров с автоматическими клапанами управления.
Затем предусмотрен блок сорбционной очистки для улучшения органолептических качеств воды.
Далее вода поступает в резервуары чистой воды, а оттуда часть расхода направляется потребителю на хозяйственно-бытовые нужды через установку УФ обеззараживания, а часть – на доочистку для питьевых целей.
Доочистка питьевой воды включает в себя механический фильтр картриджного типа, ионообменный фильтр, систему сорбционной очистки, механический фильтр картриджного типа «тонкой» очистки, УФ обеззараживание.
Фото объекта:
Отправьте on-line заявку на консультацию /
вызов специалиста или звоните нам по тел.:
8 800 234 08 89


