Обьект: АНО ООЦСТ «Энергетик»
Требования к очищенной воде: соответствие нормативам СанПиН 2.1.4.1074-01
Качество исходной воды: железо общее до 0,75 мг/дм3, марганец до 0,25 мг/дм3, жесткость – до 1,96 ºЖ
Характеристики установки:
- Производительность установки: 60,0 м3/сутки
- Максимальный часовой расход: 3,5 м3/ч
- Тип исполнения: размещение оборудования в блочном здании
- Режим работы станции: автоматический, с периодическим обслуживанием
- Электропитание: 380 В, 50 Гц
- Габаритные размеры, мм: 5000 х 2400 х 2900
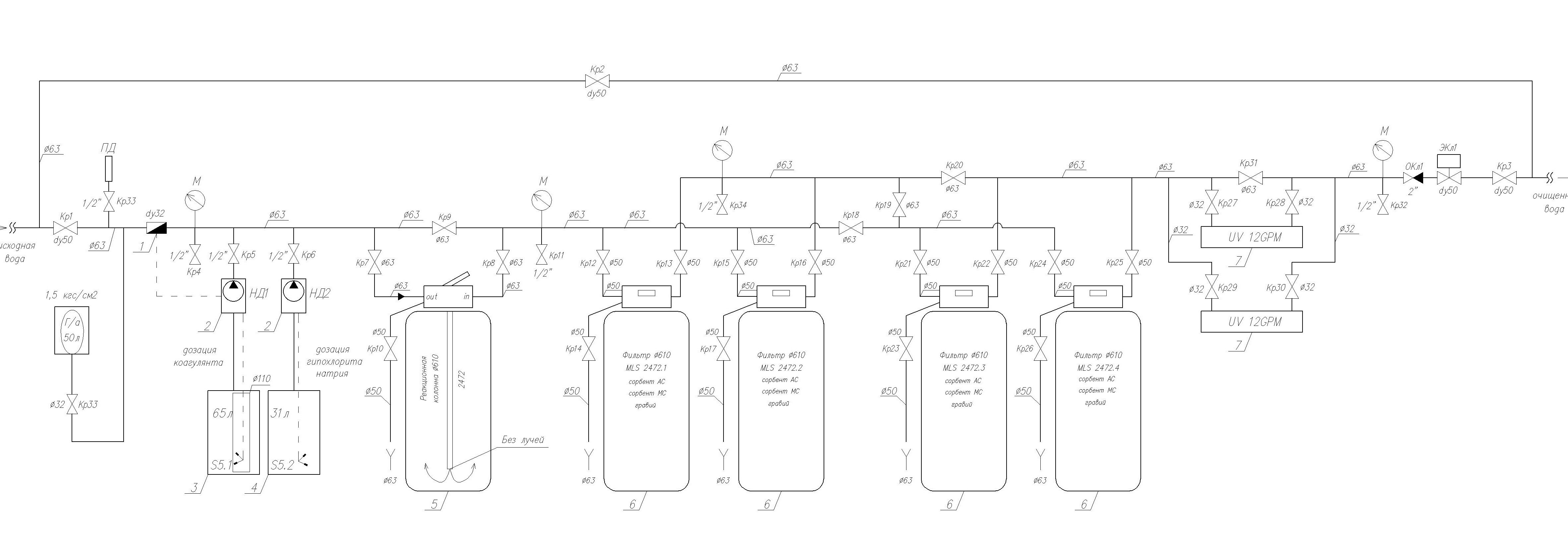
Принципиальная схема системы очистки воды:
Принципиальная технологическая схема очистки воды выглядит следующим образом. Исходная вода из скважин подается на очистку. По сигналу от импульсного счетчика пропорционально расходу воды дозируются растворы щелочи (NaOH) и гипохлорита натрия (NaClO). Для обеспечения времени контакта обрабатываемой воды с реагентами предусмотрена реакционная колонна. Затем вода направляется на блок фильтрации. Данная ступень предназначена для осветления воды, удаления окисленных форм загрязняющих веществ. Блок фильтрации состоит из 4-х параллельно работающих фильтров с автоматическими клапанами управления. Также возможна работа фильтров в 2 ступени: два фильтра – I ступень, два фильтра -II ступень.
Затем вода через блок УФ обеззараживания по существующему трубопроводу подается потребителю.




